Vi har nylig oppgradert nettsiden vår og i en overgangsperiode kan det forekomme at enkelte lenker eller sider ikke fungerer helt som forventet. Ta kontakt om du ikke får bestilt!
Produkter
Alle
Yanmar marine deler
Båtutstyr
Forfilter
Systemrens
Yanmar snøfreser deler
KAMPANJE
OUTLET
Søk
Vis alle resultater
-
Laster...
Logg inn
Registere
Produkter
Handlekurv
Produkter
Produkter
Logg inn
Søk
-
Handlekurv
Hjem
Yanmar marine deler
Varmeveksler
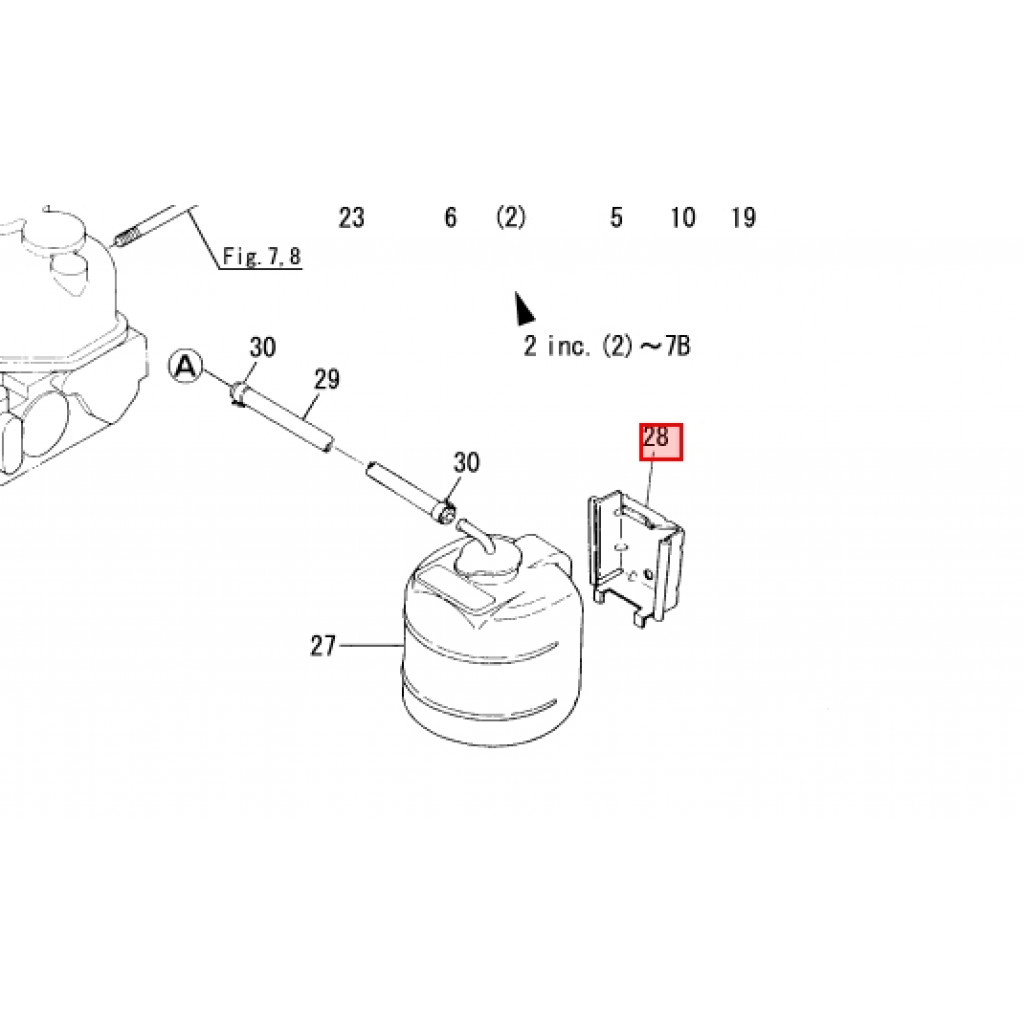
BRACKET, SUB TANK
BRACKET, SUB TANK
Festebrakett til ekspansjonstank
mer
Tomt på lager
Antall
Legg til Handlekurv
Varenummer:
120445-44540
Kategorier:
Varmeveksler
Del produktet
Beskrivelse
Spesifikasjon
Festebrakett til ekspansjonstank
Spesifikasjon
Størrelse
85x25x75 mm
Vekt
120 g